
GEFRAN杰弗倫CC稱重傳感器
詳情
GEFRAN-CC傾斜力傳感器。意大利GEFRAN CC力傳感器又稱載荷傳感器、稱重傳感器等。GEFRAN CC傳感器器測量范圍從20-20Kg,精度等級可達0.5%,傳感器殼體采用不銹鋼材料,具有良好的耐腐蝕性。并且防護等級可達IP68,非常適合用于惡略的環境下使用。
GEFRAN CC載荷傳感器傳感器在工廠通過了各種環境測試,例如超壓測試、疲勞測試、電氣穩定性測試等等。
主要特征:
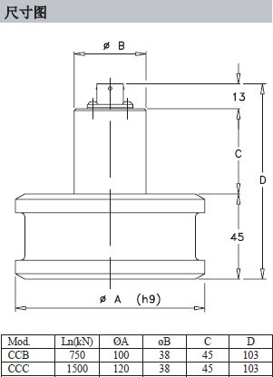
1.測量范圍為從750到1.500KN
2.精度等級:0.5%
3.內部形成校準信號
4.所有不銹鋼結構
5.抗腐蝕
6.保護等級:IP65
CC系列稱重傳感器是用來設計使用在塑料工業中,這些應用場合要求測量齒輪外殼上順著擠壓機螺紋的軸向出現的擠壓力。
這種型號的傳感器,與推力軸承接觸并與之一起固定,用來測量閥門,通過適當的校正之后,與通過螺紋面積增加的擠壓力,CC系列圓筒形壓力傳感器是全不銹鋼結構,殼體嚴密的焊接,使它的體積小于CT系列。
柄部的接頭與傳感器同一方向,所以在某種程度使安裝更加容易。
更多資料及信息請點擊關鍵詞:杰弗倫傳感器
Update Required
To play the media you will need to either update your browser to a recent version or update your Flash plugin.